24小时服务热线:0523-84328880
简要描述:
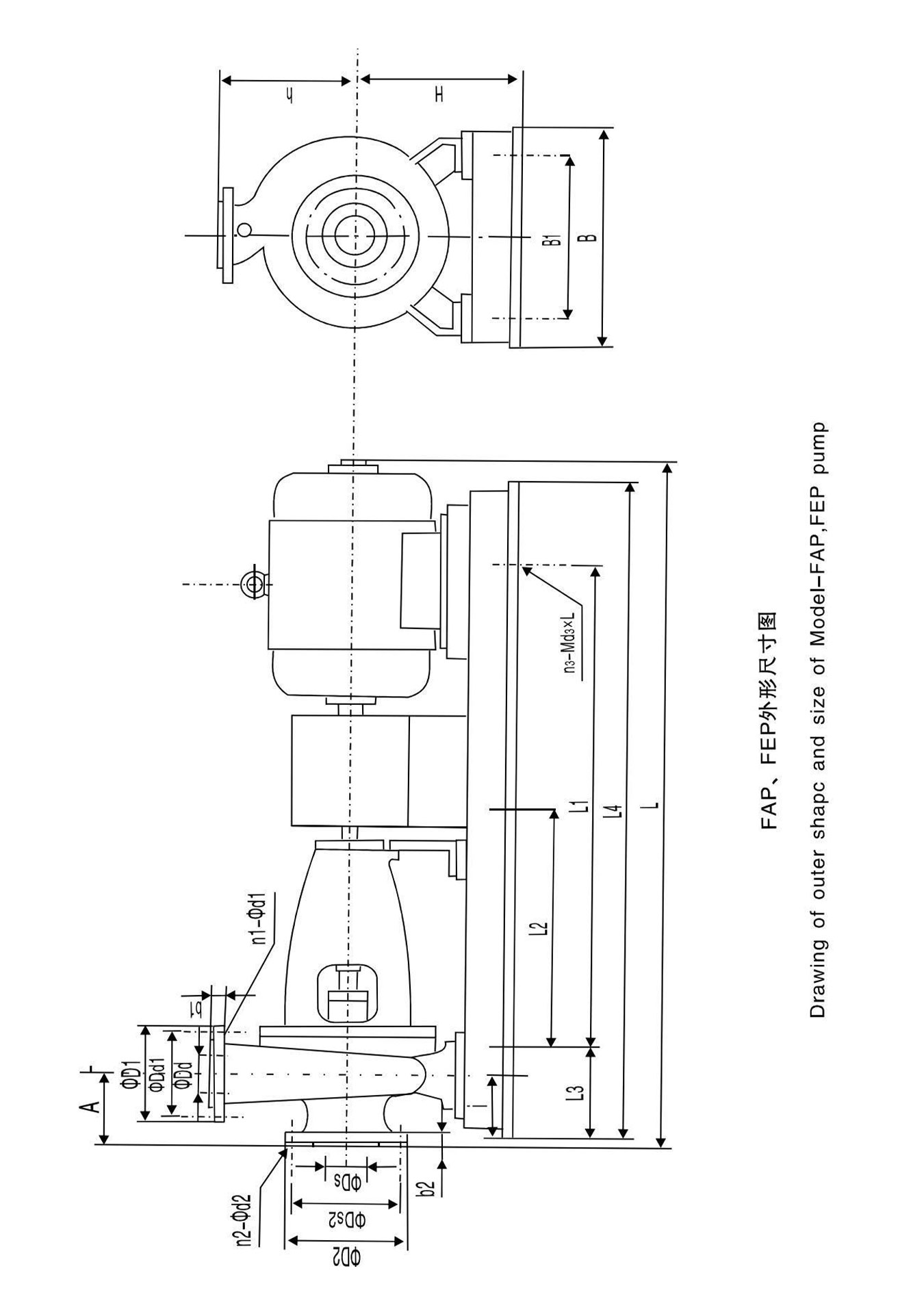
该系列泵为石油化工流程泵,是根据API610规范设计的。该泵为单级、卧式径向剖分蜗壳泵,泵体为脚支撑。单吸径向叶轮,轴向吸入,径向排出。根据使用条件,采用前、后磨损环及平衡孔进行水力平衡。填料箱具有冷却或加热管接头。轴封采用集装式单端面或双端面密封。并配有冷却冲洗 或密封系统。密封管路按API规范设计。吸入及排出管法兰的额定压力等级相同。从电机端看,泵为顺时针转动。
该泵为单级、卧式径向剖分蜗壳泵,泵体为脚支撑.单吸径向叶轮。轴向吸入,径向排出。
根据使用条件,采用前、后磨损环及平衡孔进行水力平衡。 填料箱具有冷却或加热管接头。 轴封采用填料密封,也可以采用单端面或双端面机械密封。并配有冷却冲洗或密封系统。
标准管路按API规范设计。
吸入及排出管法兰的额定压力等级相同。
从电机端看,泵为顺时针转动。






炼油厂、石油化学工业、煤加工工业和低温工程
化学工业、造纸、纸浆业、制糖业和普通流程工业
供水厂、海水淡化厂
供暖和空气调节系统
发电厂
环境保护工程
船舶及海上工业等



















电话
微信客服
微信扫一扫
Copyright © 2024 All Rights Reserved 江苏飞跃机泵集团有限公司版权所有 备案号: 苏ICP备2025178322号-1 网站建设:泥狗子网络
结构和性能
使用材料
适用范围
结构简图
性能参数